Oracle8i Supplied PL/SQL Packages Reference
Release 2 (8.1.6)

A76936-01

Library

Product

Contents

Index

Prev Next

8
DBMS_DEBUG

DBMS_DEBUG is a PL/SQL API to the PL/SQL debugger layer, Probe, in the Oracle server.

This API is primarily intended to implement server-side debuggers and it provides a way to debug server-side PL/SQL program units.


Note:

The term program unit refers to a PL/SQL program of any type (procedure, function, package, package body, trigger, anonymous block, object type, or object type body). 


Using DBMS_DEBUG

To debug server-side code, it is necessary to have two database sessions: one session to run the code in debug-mode (the target session), and a second session to supervise the target session (the debug session).

The target session becomes available for debugging by making initializing calls with DBMS_DEBUG. This marks the session, so the PL/SQL interpreter runs in debug-mode and generates debug events. As debug events are generated, they are posted from the session. In most cases, debug events require return notification: the interpreter pauses awaiting a reply.

Meanwhile, the debug session must also initialize itself using DBMS_DEBUG: This tells it what target session to supervise. The debug session may then call entrypoints in DBMS_DEBUG to read events that were posted from the target session and to communicate with the target session.

See Also:

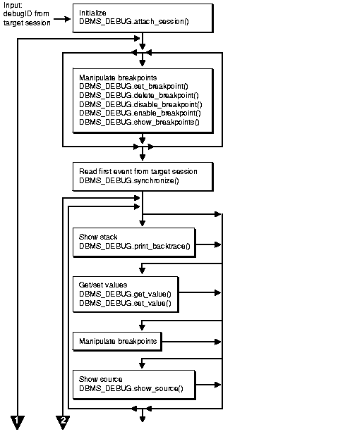
Figure 8-1 and Figure 8-2 illustrate the flow of operations in the session to be debugged and in the debugging session. 

DBMS_DEBUG does not provide any interface to the PL/SQL compiler; however, it does depend on debug information optionally generated by the compiler. Without debug information, it is not possible to examine or modify the values of parameters or variables. There are two ways to ensure that debug information is generated: through a session switch, or through individual recompilation.

To set the session switch, enter the following statement:

ALTER SESSION SET PLSQL_DEBUG = true;

This instructs the compiler to generate debug information for the remainder of the session. It does not recompile any existing PL/SQL.

To generate debug information for existing PL/SQL code, use one of the following statements (the second recompiles a package or type body):

ALTER [PROCEDURE | FUNCTION | PACKAGE | TRIGGER | TYPE] <name> COMPILE DEBUG;
ALTER [PACKAGE | TYPE] <name> COMPILE DEBUG BODY;

Figure 8-1 Target Session


Figure 8-2 Debug Session


Figure 8-2 Debug Session (Cont.)


Control of the Interpreter

The interpreter pauses execution at the following times:

  1. At startup of the interpreter so any deferred breakpoints may be installed prior to execution.

  2. At any line containing an enabled breakpoint.

  3. At any line where an interesting event occurs. The set of interesting events is specified by the flags passed to DBMS_DEBUG.CONTINUE in the breakflags parameter.

Usage Notes

Session Termination

There is no event for session termination. Therefore, it is the responsibility of the debug session to check and make sure that the target session has not ended. A call to DBMS_DEBUG.SYNCHRONIZE after the target session has ended causes the debug session to hang until it times out.

Deferred Operations

The diagram suggests that it is possible to set breakpoints prior to having a target session. This is true. In this case, Probe caches the breakpoint request and transmits it to the target session at first synchronization. However, if a breakpoint request is deferred in this fashion, then:

Diagnostic Output

To debug Probe, there are diagnostics parameters to some of the calls in DBMS_DEBUG. These parameters specify whether to place diagnostic output in the RDBMS tracefile. If output to the RDBMS tracefile is disabled, then these parameters have no effect.

Types

PROGRAM_INFO

This type specifies a program location. It is a line number in a program unit. This is used for stack backtraces and for setting and examining breakpoints. The read-only fields are currently ignored by Probe for breakpoint operations. They are set by Probe only for stack backtraces.

EntrypointName
 

Null, unless this is a nested procedure or function. 

LibunitType
 

Disambiguate among objects that share the same namespace (for example, procedure and package specifications).

See the Libunit Types for more information. 

TYPE program_info IS RECORD
(
    -- The following fields are used when setting a breakpoint
    Namespace        BINARY_INTEGER,  -- See 'NAMESPACES' section below.
    Name             VARCHAR2(30),    -- name of the program unit
    Owner            VARCHAR2(30),    -- owner of the program unit
    Dblink           VARCHAR2(30),    -- database link, if remote
    Line#            BINARY_INTEGER,
    -- Read-only fields (set by Probe when doing a stack backtrace)
    LibunitType      BINARY_INTEGER, 
    EntrypointName   VARCHAR2(30)
);
RUNTIME_INFO

This type gives context information about the running program.

TYPE runtime_info IS RECORD
(
    Line#            BINARY_INTEGER,  -- (duplicate of program.line#)
    Terminated       BINARY_INTEGER,  -- has the program terminated?
    Breakpoint       BINARY_INTEGER,  -- breakpoint number
    StackDepth       BINARY_INTEGER,  -- number of frames on the stack
    InterpreterDepth BINARY_INTEGER,  -- <reserved field>
    Reason           BINARY_INTEGER,  -- reason for suspension
    Program          program_info     -- source location
);
BREAKPOINT_INFO

This type gives information about a breakpoint, such as its current status and the program unit in which it was placed.

TYPE breakpoint_info IS RECORD
(
   -- These fields are duplicates of 'program_info':
   Name        VARCHAR2(30),
   Owner       VARCHAR2(30),
   DbLink      VARCHAR2(30),
   Line#       BINARY_INTEGER,
   LibunitType BINARY_INTEGER,
   Status      BINARY_INTEGER   -- see breakpoint_status_* below
);
INDEX_TABLE

This type is used by GET_INDEXES to return the available indexes for an indexed table.

TYPE index_table IS table of BINARY_INTEGER INDEX BY BINARY_INTEGER;
BACKTRACE_TABLE

This type is used by PRINT_BACKTRACE.

TYPE backtrace_table IS TABLE OF program_info INDEX BY BINARY_INTEGER;
BREAKPOINT_TABLE

This type is used by SHOW_BREAKPOINTS.

TYPE breakpoint_table IS TABLE OF breakpoint_info INDEX BY BINARY_INTEGER;
VC2_TABLE

This type is used by SHOW_SOURCE.

TYPE vc2_table IS TABLE OF VARCHAR2(90) INDEX BY BINARY_INTEGER;

Constants

A breakpoint status may have these values:

breakpoint_status_unused
 

Breakpoint is not in use. 

Otherwise, the status is a mask of the following values:

breakpoint_status_active
 

A line breakpoint. 

breakpoints_status_disabled
 

Breakpoint is currently disabled. 

breakpoint_status_remote
 

A 'shadow' breakpoint (a local representation of a remote breakpoint). 

NAMESPACES

Program units on the server reside in different namespaces. When setting a breakpoint, specify the desired namespace.

  1. Namespace_cursor contains cursors (anonymous blocks).

  2. Namespace_pgkspec_or_toplevel contains:

    • Package specifications.

    • Procedures and functions that are not nested inside other packages, procedures, or functions.

    • Object types.

  3. Namespace_pkg_body contains package bodies and type bodies.

  4. Namespace_trigger contains triggers.

Libunit Types

These values are used to disambiguate among objects in a given namespace. These constants are used in PROGRAM_INFO when Probe is giving a stack backtrace.

LibunitType_cursor
 

 

LibunitType_procedure
 

 

LibunitType_function
 

 

LibunitType_package
 

 

LibunitType_package_body
 

 

LibunitType_trigger
 

 

LibunitType_Unknown
 

 

Breakflags

These are values to use for the breakflags parameter to CONTINUE, in order to tell Probe what events are of interest to the client. These flags may be combined.

break_next_line
 

Break at next source line (step over calls). 

break_any_call
 

Break at next source line (step into calls). 

break_any_return
 

Break after returning from current entrypoint (skip over any entrypoints called from the current routine). 

break_return
 

Break the next time an entrypoint gets ready to return. (This includes entrypoints called from the current one. If interpreter is running Proc1, which calls Proc2, then break_return stops at the end of Proc2.) 

break_exception
 

Break when an exception is raised. 

break_handler
 

Break when an exception handler is executed. 

abort_execution
 

Stop execution and force an 'exit' event as soon as DBMS_DEBUG.CONTINUE is called. 

Information Flags

These are flags which may be passed as the info_requested parameter to SYNCHRONIZE, CONTINUE, and GET_RUNTIME_INFO.

info_getStackDepth
 

Get the current depth of the stack. 

info_getBreakpoint
 

Get the breakpoint number. 

info_getLineinfo
 

Get program unit information. 

Reasons for Suspension

After CONTINUE is run, the program either runs to completion or breaks on some line.

reason_none
 

 

reason_interpreter_starting
 

Interpreter is starting. 

reason_breakpoint
 

Hit a breakpoint. 

reason_enter
 

Procedure entry. 

reason_return
 

Procedure is about to return. 

reason_finish
 

Procedure is finished. 

reason_line
 

Reached a new line. 

reason_interrupt
 

An interrupt occurred. 

reason_exception
 

An exception was raised. 

reason_exit
 

Interpreter is exiting (old form). 

reason_knl_exit
 

Kernel is exiting. 

reason_handler
 

Start exception-handler. 

reason_timeout
 

A timeout occurred. 

reason_instantiate
 

Instantiation block. 

reason_abort
 

Interpreter is aborting. 

Error Codes

These values are returned by the various functions called in the debug session (SYNCHRONIZE, CONTINUE, SET_BREAKPOINT, and so on). If PL/SQL exceptions worked across client/server and server/server boundaries, then these would all be exceptions rather than error codes.

success
 

Normal termination. 

Statuses returned by GET_VALUE and SET_VALUE:

error_bogus_frame
 

No such entrypoint on the stack. 

error_no_debug_info
 

Program was compiled without debug symbols. 

error_no_such_object
 

No such variable or parameter. 

error_unknown_type
 

Debug information is unreadable. 

error_indexed_table
 

Returned by GET_VALUE if the object is a table, but no index was provided. 

error_illegal_index
 

No such element exists in the collection. 

error_nullcollection
 

Table is atomically null. 

error_nullvalue
 

Value is null. 

Statuses returned by SET_VALUE:

error_illegal_value
 

Constraint violation. 

error_illegal_null
 

Constraint violation. 

error_value_malformed
 

Unable to decipher the given value. 

error_other
 

Some other error. 

error_name_incomplete
 

Name did not resolve to a scalar. 

Statuses returned by the breakpoint functions:

error_no_such_breakpt
 

No such breakpoint. 

error_idle_breakpt
 

Cannot enable or disable an unused breakpoint. 

error_bad_handle
 

Unable to set breakpoint in given program (non-existent or security violation). 

General error codes (returned by many of the DBMS_DEBUG subprograms):

error_unimplemented
 

Functionality is not yet implemented. 

error_deferred
 

No program running; operation deferred. 

error_exception
 

An exception was raised in the DBMS_DEBUG or Probe packages on the server. 

error_communication
 

Some error other than a timeout occurred. 

error_timeout
 

Timout occurred. 

Exceptions

illegal_init
 

DEBUG_ON was called prior to INITIALIZE

The following exceptions are raised by procedure SELF_CHECK:

pipe_creation_failure
 

Could not create a pipe. 

pipe_send_failure
 

Could not write data to the pipe. 

pipe_receive_failure
 

Could not read data from the pipe. 

pipe_datatype_mismatch
 

Datatype in the pipe was wrong. 

pipe_data_error
 

Data got garbled in the pipe. 

Variables

default_timeout
 

The timeout value (used by both sessions).The smallest possible timeout is 1 second. If this value is set to 0, then a large value (3600) is used. 


Prev Next
Oracle
Copyright © 1999 Oracle Corporation.

All Rights Reserved.

Library

Product

Contents

Index